Nós apresentaremos o desempenho, métodos de operação seguros e parâmetros técnicos do aparelho de comutação de média tensão KYN28 - 12

Uso de condições ambientais
◆ Temperatura do ar ambiente: limite superior 40 ° C limite inferior -10 ° C em áreas gerais:
◆ Altitude: 1000m;
◆ Humidade:
Umidade relativa: a média diária não é superior a 95%, e a média mensal não é superior a 90%;
Pressão de vapor de água: a média diária não é superior a 2,2 KPa, e a média mensal não é superior a 1,8 KPa
A condensação pode ocorrer quando a temperatura cai, acompanhada pela sujeira, e este produto é adequado para duas condições ambientais que são mais severas do que as seguintes condições normais::
(1) Apresentação do condensação infrequente (não mais do que duas vezes por mês em média) com sujeira leve;
(2). Em geral, não há condensação (não mais de duas vezes por ano em média) com poluição grave;
◆ Não há incêndio, risco de explosão e poluição grave o suficiente para corroer o metal e danificar o isolamento e outros lugares difíceis;
◆ Não há vibrações violentas, choques e inclinação vertical de não mais de 80;
Nota: (1) Armazenamento e transporte são permitidos a -30 ° C;
(2)Quando a altitude exceder 1000m, ele deve ser manUsoado de acordo com JB / 2102 "Requisitos técnicos para áreas de altitude para o uso de aparelhos elétricos de alta tensão"; Quando a altitude não exceder 2000m, o equipamento auxiliar de baixa pressão não precisa tomar quaisquer medidas;
(3)Quando as condições reais de uso forem diferentes do acima, deverá ser negociada entre o usuário e o fabricante.
Modelo e significado
k E o N 28 - 12 / □ - □
Rating (em inglês) Corrente de curto-circuito de quebra (KA)
Rating (em inglês) Corrente (A)
Rating (em inglês) tensão (KV).
└─Design número de série
└─Indoor
└─ Mova o tipo
- O metal Armadura
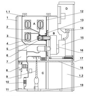
Diagrama esquemático da estrutura do Switchgear em
Figura 1

A. O Compartimento de disjuntor B. Compartimento Busbar
C. C. Sala de cabo D. Sala de instrumentos de relé
1. Busão 2. Disco de contato estático 3. Circuit Breaker (em inglês)
4. Interruptor de terra 5. Transformador atual
6. Divisão de tensão 7. Arrestador de relâmpago
Fig.2 Diagrama esquemático da estrutura do Switchgear em

1. Habitação 2. Ramo pequeno busbar 3. Busbar Sleeve 4 (em inglês) Busbar principal
5. Dispositivo de contato estático 6. Caixa de Contato Estático 7. Transformador atual
8. Interruptor de terra 9. Cabo 10. Arrestado 11. Bus principal de aterramento
12. Carregamento e partição desmontable 13. Partição (Flap) 14. Plug Secundário
15. Circuito de disjuntor de mão 16. Dispositivo de aquecimento 17. Partição horizontal extraível
18. Mecanismo de operação do interruptor de terra 19. Base Plate
A.Sala de Busbar B. Circuit Breaker Carrinho Sala C. Sala de cabo D. Sala de instrumentos de relé
1.1. Dispositivo de alívio de pressão 1.2. Controle do pequeno trunking
Cumprindo os padrões
O produto atende às seguintes normas:
1.IEC-298
2.GB3906-1991
3.DLT404-19974. GB / T11022 - 1999 (em inglês)
Esquema de fiação primária
| Número do esquema | 001 | 002 | 003 | 004 | 005 | |
Diagrama de rotas primárias |
| |||||
| atualização (A). | 630-4000 | |||||
Um Times Host Queremos eletricidade utensil Yuan Item | Disjuntor de vácuo | 1 | 1 | 1 | 1 | 1 |
| Transformador de corrente LZZBJ9 - 12 | 2 | 2 | 2 | 3 | 3 | |
| Transformador de tensão RZL / REL | ||||||
| Disjuntor de alta pressão (XRNP □) | ||||||
| Interruptor de aterramento (EK6 / JN15-12) | 1 | 1 | 1 | |||
| Arrestador de surtos HY5WZ - 17 / 45 | 3 | |||||
| Uso | Recebendo energia e alimentando energia | Recebendo energia e alimentando energia | Recebendo energia e alimentando energia | Recebendo energia e alimentando energia | Recebendo energia e alimentando energia | |
| Número do esquema | 006 | 007 | 008 | 009 | 010 | |
Diagrama de rotas primárias |
| |||||
| atualização (A). | 630-4000 | |||||
Um Times Host Queremos eletricidade utensil Yuan Item | Disjuntor de vácuo | 1 | 1 | 1 | 1 | 1 |
| Transformador de corrente LZZBJ9 - 12 | 3 | 2 | 2 | 2 | 2 | |
| Transformador de tensão RZL / REL | ||||||
| Disjuntor de Alta Pressão (XRNP) □) | ||||||
| Interruptor de aterramento (EK6 / JN15-12) | 1 | 1 | 1 | |||
| Arrestador de surtos HY5WZ - 17 / 45 | 3 | |||||
| Uso | Alimentação | Contato (direita) | Contato (direita) | Contato (Esquerda) | Contato (Esquerda) | |
| Número do esquema | 011 | 012 | 013 | 014 | 015 | |
Diagrama de rotas primárias |
| |||||
| atualização (A). | 630-4000 | |||||
Um Times Host Queremos eletricidade utensil Yuan Item | Disjuntor de vácuo | 1 | 1 | 1 | 1 | 1 |
| Transformador de corrente LZZBJ9 - 12 | 3 | 3 | 2 | 2 | 2 | |
| Transformador de tensão RZL / REL | ||||||
| Disjuntor de alta pressão (XRNP □) | ||||||
| Interruptor de aterramento (EK6 / JN15-12) | 1 | 1 | 1 | |||
| Arrestador de surtos HY5WZ - 17 / 45 | 3 | |||||
| Uso | Linha aérea (contacto direito) | Linha aérea (contacto direito) | Linhas de entrada e saída aéreas | Linhas de entrada e saída aéreas | Linhas de entrada e saída aéreas | |
| Número do esquema | 016 | 017 | 018 | 019 | 020 | |
Diagrama de rotas primárias |
| |||||
| atualização (A). | 630-4000 | |||||
Um Times Host Queremos eletricidade utensil Yuan Item | Disjuntor de vácuo | |||||
| Transformador de corrente LZZBJ9 - 12 | ||||||
| Transformador de tensão RZL / REL | /3 | 2/ | /3 | 2/ | /2 | |
| Disjuntor de alta pressão (XRNP □) | 3 | 3 | 3 | 3 | 3 | |
| Interruptor de aterramento (EK6 / JN15-12) | ||||||
| Arrestador de surtos HY5WZ - 17 / 45 | 3 | 3 | 3 | |||
| Uso | Medição de Voltagem Surge Arrestado | Medição de Voltagem Surge Arrestado | Medição de Voltagem Surge Arrestado | Medição de tensão (link esquerdo) | Medição de tensão (link direito) | |
| Número do esquema | 021 | 022 | 023 | 024 | 025 | |
Diagrama de rotas primárias |
| |||||
| atualização (A). | 630-4000 | |||||
Um Times Host Queremos eletricidade utensil Yuan Item | Disjuntor de vácuo | |||||
| Transformador de corrente LZZBJ9 - 12 | 2 | 2 | 3 | 3 | 2 | |
| Transformador de tensão RZL / REL | 2/ | 2/ | 2/ | 2/ | /3 | |
| Disjuntor de alta pressão (XRNP □) | 3 | 3 | 3 | 3 | 3 | |
| Interruptor de aterramento (EK6 / JN15-12) | ||||||
| Arrestador de surtos HY5WZ - 17 / 45 | ||||||
| Uso | Medição Correto Couplet | Medição Esquerda couplet | Medição Esquerda couplet | Medição Correto Couplet | Medição Esquerda couplet | |
| Número do esquema | 026 | 027 | 028 | 029 | 030 | |
Diagrama de rotas primárias |
| |||||
| atualização (A). | 630-4000 | |||||
Um Times Host Queremos eletricidade utensil Yuan Item | Disjuntor de vácuo | 1 | ||||
| Transformador de corrente LZZBJ9 - 12 | 3 | Capacitor Bm12.7-16-1 3 | ||||
| Transformador de tensão RZL / REL | /3 | Transformador 1 | /4 | /4 | ||
| Disjuntor de alta pressão (XRNP □) | 3 | 3 | (XRNT) 3 | 3 | 3 | |
| Interruptor de aterramento (EK6 / JN15-12) | 1 | 1 | 1 | |||
| Arrestador de surtos HY5WZ - 17 / 45 | 3 | 3 | 3 | |||
| Uso | Entrada Metrologia | Gabinete do transformador usado (largura do gabinete é determinada de acordo com o tamanho do tamanho variável usado) | Gabinetes de capacitores | Medição de Voltagem Surge Arrestado | Medição de Voltagem Surge Arrestado | |

◆Um Handcart O esqueleto do carrinho é feito de placas finas de aço processadas por máquinas-ferramentas CNC e, em seguida, rebitadas e soldadas. De acordo com a aplicação, o carrinho de mão pode ser dividido em carrinho de mão disjuntor, carrinho de mão transformador de tensão, carrinho de mão de isolamento, carrinho de mão de medição e outros carrinhos de mão da mesma especificação, que são convenientes para a intercambiabilidade. O carrinho de mão tem uma de isolamento, uma de teste e uma de trabalho no gabinete, e cada é equipada com um dispositivo de posicionamento para garantir que o carrinho de mão não possa ser movido casualmente quando estiver na acima, e o bloqueio deve ser liberado quando o carrinho de mão é movido. |
|
◆B Busbar O barramento leva de um gabinete de comutação para outro por meio de um barramento de ramificação e uma bandeja de contato estática. O ônibus de ramo plano é parafuso à bandeja de contato estático e ao ônibus principal, sem a necessidade de quaisquer grampos adicionais ou conexões de fuga. Quando o usuário e o projeto têm necessidades especiais, os parafusos de conexão na barra de bus podem ser encapsulados com isolamento e tampas finais. Quando a barra de bus atravessa a divisão do aparelho de comutação, ela é fixada com uma manga de barra de bus. Se houver um arco de falha interno, ele pode limitar a propagação do acidente para o gabinete adjacente e garantir a resistência mecânica da barra de bus. |
|
◆Sala de cabo C Transformadores de corrente, interruptores de aterramento, paralisadores de raios e cabos podem ser instalados na sala de cabos, e as placas de alumínio removíveis com fendas são preparadas na parte inferior da sala de cabos para garantir a conveniência da construção no local. |
|
◆Sala de instrumentos D Relay A sala de instrumentos de relé é usada para instalar vários relés, instrumentos, indicações de sinal, interruptores de operação e outros componentes. Além disso, uma pequena sala de barramento pode ser adicionada ao topo da sala de instrumentos de acordo com as necessidades do usuário, e um barramento de controle de dezesseis vias pode ser colocado. |
|
◆Estrutura de Lock A conexão entre a porta do meio e o gabinete adota uma estrutura de bloqueio e é equipada com um mecanismo de elevação para tornar a porta do meio mais conveniente para abrir, e quando a porta do meio está fechada, a força de conexão entre ela e o gabinete é melhor, o que aumenta a capacidade de resistir efetivamente à falha de combustão do arco interno. |
|
◆D Sala de instrumentos de relé A porta da sala de instrumentos está fechada e a sala de instrumentos está em vista frontal. | ◆Dispositivo de alívio de pressão Quando o disjuntor ou a barra de bus principal, a sala de cabos tem um arco de falha interno, com a aparência de eletricidade, a pressão do ar dentro do aparelho de comutação aumenta e, após atingir uma certa pressão, a placa de metal de liberação de pressão do dispositivo superior será aberta automaticamente para liberar pressão e descarga de gás para garantir a segurança do operador e do aparelho de comutação. |
