Vamos apresentar o desempenho, métodos de operação seguros e parâmetros técnicos do transformador: S9\S11\S13 Transformadores cheios de líquido

Este manual é aplicável aos transformadores de energia imersos em óleo totalmente selados produzidos pela nossa empresa, com uma capacidade nominal de 3150KVA ou inferior, e um nível de tensão de 35KV ou inferior.
1. Usos e Características
Além de serem adequ ados para transform adores de energia gera is , os transform adores im ers os em ó leo totalmente se lados são especialmente adequ ados para petro qu ím icos , metal urgia , tê xte is , indústria leve e empresas , min as e áreas rura is com alta um idade e manuten ção incon veni ente .
Este produto cancela o dispositivo de proteção de óleo, como o gabinete de armazenamento de óleo e o absorvente de umidade para garantir que o óleo do transformador não entre em contato com o ar, todas as vedações são seladas com borracha especial excelente, usando injeção de óleo a vácuo, em circunstâncias normais, o transformador pode ser usado continuamente por 20 anos sem qualquer tratamento, baixo custo de manutenção é a principal característica deste produto, e a confiabilidade da operação é aumentada, a vida útil é estendida.
2. Descrição do modelo
S□- M -□ □
S - Três fases
□ - Código do Nível de Desempenho (11, 13, 20)
M - Selado
□ - Capacidade nominal (kVA)
□ - Nível de tensão de alta tensão (10kV)
3. Transporte
1. Durante o transporte e a instalação, ao levantar o transformador, os quatro guindastes no tanque de combustível devem ser usados ao mesmo tempo para suportar o peso total do transformador depois que a montagem final do transformador é preenchida com a quantidade de óleo do transformador. Se este requisito não for cumprido, deve ser utilizado um transformador de elevação de feixe especial.
2. As peças de fixação deste produto são todas porcas de soltação para garantir uma fixação confiável. No entanto, durante o transporte, ainda é necessário garantir que o transformador tenha estabilidade suficiente e a inclinação do transformador não deve ser superior a 15 °. Ao levantar, ele deve ser levantado e liberado suavemente, e sob a condição de não ter equipamento de elevação, o solo deve se mover lentamente para evitar vibrações violentas.
4. Aceitação e armazenamento
1. Depois de receber o transformador, o usuário deve verificar imediatamente o modelo do produto e as especificações recebidas de acordo com a placa de identificação, se as especificações são consistentes com o contrato de encomenda e, em seguida, verificar cuidadosamente se há danos a cada parte do transformador, se as partes vulneráveis, como termômetros de sinal, carcasas, etc., estão danificadas e se a mangueira do termômetro de sinal está achatada e quebrada. Deve ser prestada especial atenção à integridade da manga de porcelana, que é julgada de acordo com se há vazamento de óleo na caixa e verifique se há vazamento de óleo ou vazamento de óleo em cada parte de vedação do transformador
2. Se o transformador não for instalado e colocado em operação imediatamente e precisa ser armazenado por um longo tempo, todas as vedações devem ser seladas, as peças sobressalentes devem ser armazenadas adequadamente e a situação de armazenamento deve ser verificada regularmente.
5. Instalação e manutenção de transformadores
1. Instalação de transformadores
1.1 O usuário usa um empilhadeiro ou outras ferramentas de manuseio para transportar suavemente o transformador para a de instalação designada.
1.2 Tome cuidado para não danificar o invólucro e outras peças de desgaste durante a instalação, e não arranhe o tanque de combustível ou arranhe o filme de tinta.
2. Critérios de inspeção e julgamento antes da colocação em operação do transformador
2.1 Depois que o transformador de energia imerso em óleo totalmente selado é transportado para o usuário, não há necessidade de verificar o núcleo.
2.2 O transformador deve ser testado de acordo com o "Padrão de Teste para a Entrega de Equipamentos Elétricos em Engenharia de Instalação Elétrica".
2.2.1 Medir a resistência CC do enrolamento e da manga, e o valor não deve ser superior a 2% em comparação com o valor medido na fábrica na mesma temperatura.
2.2.2 Verifique as alterações de todas as torneiras e não deve haver diferença significativa em comparação com os dados de fábrica.
2.2.3 Verifique se a designação do grupo de acoplamento do transformador é consistente com a marca da placa.
2.2.4 O valor da resistência de isolamento deve ser próximo do valor de fábrica à mesma temperatura e não deve ser inferior ao valor da Tabela 1.
Tabela 1 Valor de resistência de isolamento (MΩ)
Temperatura
| 20 | 30 | 40 | 50 | 60 |
<6 | 400 | 200 | 100 | 50 | 25 |
6 ou mais, mas menos de 20 | 800 | 400 | 200 | 100 | 50 |
20 ou mais de 60 | 1000 | 500 | 250 | 125 | 65 |
Descrições: 1. A bobina em teste é aterrada durante a medição. 2. Use um megaohm de 2500V ou um medidor especial.
2.2.5 A frequência de construção externa para suportar a tensão de teste do enrolamento e da caixa é mostrada na Tabela 2.
Tabela 2 Padrões Experimento experimentalais para a tensão de resistência de frequência de energia de isolamento de equipamentos elétricos de alta tensão
Voltagem nominal (KV). | 3 | 6 | 10 | 15 | 20 | 35 |
Valor Experimento experimentalal da fábrica | 18 | 25 | 35 | 45 | 55 | 85 |
Entrega de valores Experimento experimentalais | 15 | 21 | 30 | 38 | 47 | 72 |
2.2.6 Os itens de ensaio convencionais do óleo do transformador são inspecionados de acordo com os requisitos do novo óleo (antes da colocação em operação), ver Tabela 3.
Tabela 3 Itens Experimento experimentalais e padrões de óleo de transformador antes de colocá - lo em funcionamento
Número de série | Itens | Novo óleo no tanque antes da colocação em operação |
1 | aparência | Transparente e livre de impurezas |
2 | Ponto de inflamação C (selado) | 140 |
3 | Umidade mg/1 (Ppm). | ≤20 |
4 | Valor ácido mgKOH / g | <0.03 |
5 | Breakdown Voltage (em inglês) KV (2.5mmGap do petróleo | 35KV abaixo: ≥ 35 |
6 | O meio é perdido tangencialmente tangente 8% (90 ° C). | ≤0.7 |
7 | Tensão Interfacial mN/m (25 ° C). | ≥35 |
8 | Ácido solúvel em água (PH). | ≥5.4 |
2.2.7 Método de coleta de amostra de óleo
(1)Esfregue e seque o copo de teste de vidro com um diâmetro de cerca de 80 - 100 mm e o barril da seringa de cerca de 100 ml.
(2)Desparafuso a tampa da válvula de amostra de óleo na parte inferior do tanque de combustível.
(3)Limpe a saída da válvula de amostra de óleo e limpe a vizinhança com papel ou pano limpo.
(4)Alinear a copo de teste de vidro com a saída da válvula.
(5)Use uma chave para desfuso lentamente o parafuso da válvula de amostra de óleo para deixar o óleo fluir para o copo e, ao mesmo tempo, coloque a agulha da seringa na saída de óleo da válvula de amostra de óleo para desenhar a amostra de óleo.
(6)A quantidade da amostra de óleo é determinada pelo usuário de acordo com as necessidades do projeto Experimento experimentalal.
(7)Quando a amostra de óleo for coletada, aperte o parafuso da válvula de amostra de óleo e a tampa da válvula.
(8)Abra a tampa do tubo de injeção de óleo na parte superior da tampa da caixa do transformador e despeje lentamente o óleo do transformador do mesmo modelo, o mesmo peso e passe o teste no tubo de injeção de óleo e aperte a tampa do tubo de injeção de óleo, e a amostra de óleo e o processo de reabastecimento de óleo são concluídos.
3. Manutenção de transformadores
3.1 Os padrões de manutenção e inspeção de transformadores imersos em óleo totalmente selados são os seguintes na Tabela 4 e Tabela 5.
Tabela 4 Normas de inspeção regular
Número de série | Itens de inspeção | Inspeção essencial | Ciclo | Critérios de julgamento | Comentário |
1 | Resistência de isolamento | Use um medidor de balanço de 2500V ou A instrumento de medição com o mesmo efeito Medir a fase para o solo | Irregular | Lado 35KV: 270MΩ Lado 10KV: 200M Ω 1KV lado: 50M Ω | Depois de uma sobrevoltagem grave ou acidente graveE isso Experimento experimental é realizada |
2 | Óleo isolante | Análise cromatográfica | 6 anos | GB7252 - 87 "Diretrizes para A análise e Julgamento de dissolvido gás em óleo de transformador " | Depois de Uma sobrevoltagem grave ou acidente graveE isso A experiência não se limita ao período |
3 | termômetro | 1. Inspeção local interna (ferrugem e absorção de umidade) 2. Condição do gás 3. Indicação de temperatura, indicando a ação 4. Classificação de temperatura | 2 anos | 1. Não Rust 2. Nenhum dano 3. Indique ação Normal (toque suavemente) 4,85 ° C | |
4 | Nível de óleo Gauge | 1. Inspeção externa 2. Se a superfície do óleo está cheia de óleo | 1 ano | 1. Não rust, não Manchas de óleo no Vidro 2. Se a linha de superfície do petróleo pode ser vista | Não há medidor de nível de óleo Este item não será inspecionado |
5 | Casing | 1. Terminal de Estado 2. Status do sleeve 3. O óleo vaza? | 2 anos | 1. Não há afrouxamento ou descoloração 2. Não há danos ou desintegração 3. Sem vazamento de óleo ou vazamento de ar | Se houver alguma anomalia, deve ser tratada no tempo |
6 | Ground Wire (em inglês) | Estado Rugged | 2 anos | Sem soltação, sem fios quebrados | |
7 | Pressão Válvula de liberação | 1. Se o selo é óleo 2. Se a conexão do fio de chumbo É firmemente | 2 anos | 1. Sem vazamento de óleo 2. Se houver alguma aNormalidade, ela deve ser tratada a tempo | Se houver vazamento Lidar com isso de maneira oportuna |
Tabela 5 Padrões de Inspeção Diária
Número de série | Itens de inspeção | Inspeção essencial | Ciclo | Critérios de julgamento | Comentário |
1 | Aparência corporal | Não há sujeira, rachaduras ou vazamento de óleo | Janeiro | Não deve haver sujeira, rachaduras, vazamento de óleo, etc | Se houver alguma anomalia, deve ser tratada no tempo |
2 | O som e Odor do dos Corpo | sons anormais e Cheiros (ouvido, cheiro) | Janeiro | 1. sons e vibrações Causados pela excitação são Normal 2. aNormal Sounds tais como o afrouxamento e a descarga da porca de fixação da parte condutora 3. A combustão do isolamento terá um Odor especial | Se houver alguma aNormalidade, Investigar a causa e tratá - la em um maneira oportuna |
3 | Temperatura do corpo | Se o aumento da temperatura é Normal | Janeiro | A carga atual suportado pelo transformador está relacionado com o aumento da temperatura do óleo Superfície | Se houver alguma aNormalidade, Investigue a causa E lidar com Isso em um maneira oportuna |
4 | Superfície do óleo corporal | Se a superfície do óleo é Normal (tabela de superfície do óleo) | Janeiro | O óleo deve ser preenchido com um medidor de nível de óleo | Se há Sem gauge de nível de óleo, Nenhuma inspeção spot pode ser realizada |
5 | atual | Se a corrente excede o valor permitido e Se a corrente trifásica está equilibrada (Ammeter) | Janeiro | A corrente de cada fase é aproximadamente equilibrada dentro da faixa nominal. | Se o O desequilíbrio é graveDeve ser ajustado no tempo |
3.2 Tratamento de vazamento de óleo e método de reabastecimento de óleo
3.2.1 Se o vazamento de óleo na vedação for vazado, a espiral pode ser apertada com uma chave e as manchas de óleo podem ser limpas secas.
3.2.2 Se o material de vedação causar vazamento de óleo, a vedação deve ser substituída.
3.2.3 O vazamento de óleo na soldadura deve ser tratado a tempo.
3.2.4 Após o tratamento de infiltração de óleo, o método de reabastecimento de óleo é o mesmo que o ponto 8 do ponto 2.2.7.
3.2.4.1 Qu anti dade de rep osição de ó leo : Sob circun st âncias norma is , a quanti dade de ó leo que va za para fora do tan que é pequena , de modo que a quanti dade de re ab aste cimento de ó leo está suje ita ao en ch imento de ó leo na tampa do tan que , e a temperatura do ó leo e a temperatura ambiente nesse momento podem ser ignor adas .
3.3 O objetivo da injeção de óleo a vácuo de transformadores totalmente selados é eliminar o gás na bobina tanto quanto possível sob condições de vácuo, de modo que o óleo do transformador possa preencher as lacunas dentro da bobina e do material de isolamento e melhorar o desempenho de isolamento e a vida útil do transformador. Como a quantidade de reabastecimento de óleo devido ao vazamento de óleo é muito pequena, ela não afeta a potência absoluta da bobina.
Desempenho de borda (o fabricante estipula no processo de injeção de óleo a vácuo: sob a condição de injeção de óleo a vácuo, o óleo é injetado a cerca de 100 mm de distância da tampa da caixa e, em seguida, a injeção de óleo é interrompida, mas o vácuo é continuado por 1 hora e, em seguida, o óleo é injetado do tubo de injeção de óleo da tampa da caixa para fazer o nível de óleo subir para o topo do tubo de injeção de óleo).
6. Modo de operação permitido
1. Modo de operação classificado
1.1 O transformador deve estar equipado com um relé de proteção de temperatura, que pode ser operado de acordo com as especificações da placa de identificação sob as condições de resfriamento especificadas.
1.2 A temperatura admissível durante a operação do transformador é verificada de acordo com o aumento da temperatura do óleo superior, e o valor admissível do aumento da temperatura do óleo superior é de 55 ° C, mas a temperatura máxima não deve exceder 95 ° C. A fim de evitar o rápido envelhecimento do óleo do transformador, a temperatura superior do óleo não deve exceder frequentemente 85 ° C.
1.3 A tensão aplicada dos transformadores step-up e transformadores step-down pode ser maior que o valor nominal, mas geralmente não mais de 5% do valor nominal, não importa onde a torneira de tensão está localizada, se a tensão primária é aplicada, não excede 5% do seu valor de tensão correspondente, então o lado secundário do transformador pode ter uma corrente nominal.
2. Sobrecarga permitida
2.1 O transformador pode operar sob sobrecarga Normal e sobrecarga de acidente. A sobrecarga Normal pode ser usada regularmente, e seu valor admissível é determinado de acordo com a curva de carga do transformador, o centro de temperatura do meio de resfriamento e a carga do transformador antes da sobrecarga. A sobrecarga de acidente só pode ser usada em situações de acidente. Por exemplo, se um dos vários transformadores em operação estiver danificado e não houver transformador de backup, o resto dos transformadores é autorizado a operar de acordo com a sobrecarga de acidente.
2.2 O valor admissível de sobrecarga acidental do transformador deve ser especificado na tabela a seguir.:
| Relação entre sobrecarga de acidente e carga nominal | 1.3 | 1.5 | 1.75 | 2.0 | 3.0 |
Duração permitida de sobrecarga (minutos) | 120 | 45 | 20 | 10 | 1.5 |
3. Corrente desequilibrada da corrente de curto-circuito admissível.
3.1 A corrente de curto-circuito do transformador não deve exceder 25 vezes a corrente nominal, e o tempo de passagem da corrente de curto-circuito não deve exceder o valor calculado de acordo com a seguinte fórmula::
T = 900 / K segundos, onde K é um múltiplo da corrente de curto-circuito estável para a corrente nominal.
3.2 Para os transformadores cujas bobinas estão conectadas de acordo com Y, yn0, a corrente da linha média não deve geralmente exceder 25% da corrente nominal da bobina de baixa tensão (exceto para requisitos especiais dos usuários)
Manual de instruções para componentes gerais de transformadores de energia imersos em óleo
1. Visão geral
Este manual de instruções é adequado para os componentes gerais de transformadores de energia produzidos pela nossa fábrica, incluindo carcasas, trocadores de torneira, válvulas de liberação de pressão, flaps de amostra de óleo, assentos de termômetro, parafusos de terra e válvulas de drenagem de óleo. Outros componentes padrão são acompanhados por manuais de instruções.
2. Uso e manutenção
(1)Manual de instruções para buchas de transformadores de 35 kilovolts e abaixo

Figura 1

Fig. 2 Figura 3
1. A F igura 1 é uma caixa comp osta , usada para tens ão de 1 mil vol ts e abaixo , corrente é de 300 - 3000 A . F igura 2 é uma manga do tipo cabo , usada para uma tens ão de 10 mil vol ts , corrente é de 50 - 300 A . A F igura 3 mostra uma manga ros cada com uma tens ão de 35 k V e uma corrente de 35 - 600 A .
2. Quando o transformador sai da fábrica, a caixa é montada no tanque de óleo do transformador e enviada ao usuário junto com o transformador.
3. Se você precisar desmontar ou substituir o tipo de porcelana, ele deve ser realizado da seguinte maneira.
(1)Caixa composta, primeiro levante o corpo de elevação, em seguida, remova o chumbo da parte inferior do invólucro e, finalmente, desenfuso todas as porcas de fixação, remova o invólucro e substitua o invólucro de substituição que foi esfregado e seco.
(2)Para a carcaça do tipo cabo, ao substituir a carcaça, a carcaça pode ser substituída externamente, e a porca da junta deve ser desenfusa quando substituída, e a junta deve ser puxada com fio de cobre ou cinto de fio para evitar escorregar no tanque de óleo e, em seguida, removida, cobertura de porcelana, vedação e placa de pressão, etc.
4. Ao instalar o invólucro no tanque de combustível do transformador, os seguintes assuntos devem ser observados::
(1)Para o invólucro composto, a fim de prender completamente a parte de porcelana na tampa da caixa do transformador para evitar vazamento de óleo, as partes superior e inferior do invólucro devem ser apertadas para prender a porca da parte de porcelana.
(2)Para a carcaça do tipo cabo, a porca do parafuso de prensagem que fixa a carcaça deve ser apertada uniformemente e, em seguida, a haste condutora é fixada após a carcaça ser firmementeemente instalada no tanque de óleo do transformador.
5. No uso perene, o invólucro deve ser esfregado com frequência de acordo com a situação de sujeira para evitar que a superfície da manga de porcelana seja descarregada.
(2)Sem excitação Tap-Changer
Os transformadores de potência de três fases imersos em óleo totalmente selados produzidos pela nossa empresa são geralmente equipados com trocadores de torneira sem carga do tipo WSP na tampa da caixa, de modo a mudar o trocador de torneira lateral de alta tensão quando não há eletricidade.
1. A estrutura típica do regulador de tensão de ponto neutro sem excitação do tipo WSPII1 é mostrada na Figura 4.
2. Para o valor de tensão indicado pela indicação digital do mostrador do interruptor de torneira na faixa de regulação de tensão de ± 5%: 1 indica o conector de torneira com 5% do valor de tensão nominal, 2 indica o valor de tensão nominal e 3 indica o conector de torneira com -5% do valor de tensão nominal.
3. Ao alterar a do trocador de torneira, o parafuso na tampa do item 4 deve ser desenfuso e removido, a parte de posicionamento da alça do item 3 deve ser puxada para fora do orifício da ranhura e, em seguida, o item 2 é girado para a de torneira necessária e a parte de posicionamento da alça deve ser incorporada no orifício da ranhura correspondente e coberta com uma tampa.
4. Se o trocador de torneira muitas vezes trabalha em uma devido às necessidades do transformador, a fim de eliminar o filme de óxido e manchas de óleo na parte de contato e garantir um bom contato, independentemente de o transformador precisar mudar de tensão, o trocador de torneira deve ser girado pelo menos 10 vezes por ano. Se não houver necessidade de alterar a tensão, ela ainda será fixada na original após a rotação, e a da torneira deve ser alterada e a ponte ou o multímetro devem ser usados para medir o caminho antes de ser colocados em operação.
5. Se o óleo do transformador for encontrado vazando para fora do trocador de torneira, descubra de onde ele vaza. Se o óleo vazar da tampa do tanque de combustível do transformador e do flange do trocador de torneira, a porca plana do item 6 deve ser apertada imediatamente, e se o eixo e o flange vazarem de óleo, a porca do item 5 deve ser apertada, mas não deve ser apertada demais para evitar aumento excessivo do torque rotacional.

Figura 4 WSPIII Tipo 1 Tap Changer
Se for a regulação de tensão média, o trocador de torneira sem excitação WPS II.1 é usado, e seu método de operação e manutenção é basicamente o mesmo que o acima. Para trocadores de torneira sem excitação que não sejam os acima, consulte o manual do trocador de torneira correspondente para obter detalhes.
(3)Válvula de liberação de pressão
1. Uso do produto e introdução de desempenho:
As válvulas de liberação de pressão (doravante referidas como válvulas de liberação) são adequadas para transformadores isolados a líquido ou a gás, transformadores, trocadores de torneira de carga, interruptores de alta tensão, capacitores e outros produtos para proteger tanques de combustível.
Quando ocorre um acidente dentro do transformador ou do trocador de torneira em carga, uma parte do transformador é gaseificada, fazendo com que a pressão dentro do tanque do transformador aumente rapidamente. Se você não tomar uma proteção confiável, o tanque pode se deformar ou até mesmo explodir. A válvula de liberação protege o tanque do transformador contra danos. Quando a pressão do tanque de combustível atinge a pressão de trabalho da válvula de liberação, a válvula de liberação será aberta dentro de 2 milissegundos para liberar a sobrepressão no tanque de combustível a tempo.
Uma vez que a válvula de liberação é aberta, a pressão no tanque de combustível cai para cerca de 53 - 55% da pressão de operação, e a válvula de liberação pode ser fechada de forma confiável. Esta função especial da válvula de liberação é a necessidade especial do objeto de proteção, que pode proteger efetivamente o tanque de combustível de danos. Quando a pressão no tanque aumenta novamente e atinge a pressão de operação, a válvula de liberação atuará novamente até que a pressão no tanque caia para o valor Normal. Quando o transformador está ligado, a segurança 11 deve ser removida.
Como a válvula de liberação pode ser fechada de forma confiável após a ação, o ar e a água fora do tanque de combustível não podem entrar no tanque de combustível e o óleo do transformador não será poluído pela atmosfera.
2. Modelo, especificações e parâmetros básicos
2.1 modelo
YSF□-□ □ □
YSF – Código de válvula de alívio de pressão
□ - Design número de série
□ – Vire a pressão kPa
□ - o calibre efetivo da injeção de óleo mm
□ - Sinal de alarme Condições ambientais e dispositivo de bloqueio*
* * *: 1. Usado para a marca de sinal mecânico "J".
2. Para uso em áreas tropicais úmidas, adicione "TH" após a marca "J".
3. Se um dispositivo de bloqueio for usado, adicione "B" depois dele.
Por exemplo: YSF6-35/25JTHB
Ou seja, o diâmetro de injeção de óleo φ 25mm, a pressão de abertura é de 35kPa, com um sinal de alarme mecânico, é usado para o dispositivo de bloqueio da zona úmida e quente, e o sexto projeto da válvula de liberação de pressão.
2.1 As especificações e os parâmetros básicos são apresentados na Tabela 1.
3. A estrutura da válvula de alívio de pressão estrutural é mostrada na Figura 5.
Tabela 1 Especificações e Parâmetros Básicos
Calibre efetivo (em mm) | Vire a pressão (em kPa) | Limite de pressão aberto desvio (kPa). | Desligue a pressão (em kPa) | Pressão de vedação (em kPa) |
φ25 φ50 | 15 | ±5 | 8 | 9 |
25 | 13.5 | 15 | ||
35 | 19 | 21 | ||
55 | 29.5 | 33 |

Fig.5 Diagrama esquemático da estrutura da válvula de liberação de pressão
4. Use
Escolha um equipamento de válvula de liberação com um dispositivo de bloqueio e o pino de bloqueio deve ser removido antes de o equipamento ser colocado em operação, caso contrário, a válvula não pode ser aberta.
Após a operação da válvula de liberação de pressão durante a operação, a haste do marcador deve ser redefinida depois que a falha é encontrada para reutilização. A válvula de liberação não pode ser removida a vontade durante a instalação.
A válvula de liberação de pressão tem vazamento de óleo, e medidas devem ser tomadas para resolvê - lo a tempo, e as principais razões para o vazamento de óleo são aproximadamente as seguintes::
a. Por alguma razão, a pressão no tanque de combustível é muito alta, que excedeu a pressão de vedação da válvula de liberação, mas ainda não atingiu a pressão de abertura, causando vazamento.
B. O Alguns dos anéis de vedação na válvula envelheceram e falharam, e o anel de vedação falhado deve ser substituído com o fabricante a tempo.
C. C. Se houver um objeto estranho na superfície de vedação, ele pode ser eliminado no tempo.
5. Manutenção e overhaul
5.1 Aproveite a oportunidade de cada manutenção de falha de energia do equipamento elétrico para realizar a seguinte manutenção da válvula.
a. Se a ação de abertura é sensível.
B. O Se o anel de vedação tem envelhecido, deformado ou danificado. Se forem encontradas aNormalidades, elas devem ser substituídas a tempo para evitar vazamento de óleo ou até mesmo falha da válvula de liberação devido ao envelhecimento do anel de borracha.
C. C. Limpe o corpo estranho na válvula.
d. Se as peças estão ferrugadas, deformadas ou danificadas.
5.2 O utilizador deve preparar várias válvulas de liberação em caso de substituição durante a inspeção.
(4)Flap de amostra de óleo
Ele é geralmente instalado na direção do lado de baixa pressão da parte inferior do tanque de combustível para amostras de óleo. Ao usar, primeiro desenfuso a tampa, coloque a mangueira de amostra de óleo na junta macia 1: em seguida, lentamente torça o plugue até que o óleo possa ser liberado do conector e parafuso a tampa após a conclusão.

Figura 6
(5)Assento do termômetro
Para medir o aumento de temperatura da superfície do óleo do transformador. O termômetro de mercúrio para medição é fornecido pelo utilizador. A estrutura do assento do termômetro é mostrada na Figura 7. O soquete do sensor de temperatura é preenchido com óleo do transformador e, quando o aumento da temperatura da superfície do óleo é medido, basta abrir a tampa e inserir o termômetro de mercúrio. Depois de medir, retire o termômetro e aperte a tampa novamente.

Figura 7
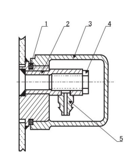
(6)Ground bolt (em inglês)s (em inglês)
Um parafuso de aterramento é soldado à parte inferior do lado de baixa tensão do tanque para o aterramento geral do transformador. A sua estrutura é mostrada na Figura 8. Na lavadora do item 2, a conexão doméstica está conectada à barra de aterramento e o parafuso do item 3 é apertado para garantir a operação segura do transformador. Para facilitar a identificação, há um sinal de aterramento.

Figura 8
(7)Óleo Flap
A válvula de drenagem de óleo é instalada na direção do lado de baixa tensão do tanque de combustível para acidentes de transformador ou para limpeza e drenagem de óleo.

Figura 9

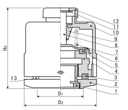
Componente de transformador de potência totalmente selado imerso em óleo
Número de série | Código | Nome | quantidade | Observações |
11 | Tap-Changers | 1 | ||
10 | Montagem do termômetro de sinal | 1 | Lá lá São mais do que 1000KVA | |
9 | Termômetro de mercúrio | 1 | ||
8 | Ground bolt (em inglês) | 1 | ||
7 | Flap de amostra de óleo | 1 | ||
6 | Gabinete Transformador | 1 | ||
5 | Relé de gás | 1 | São mais de 800 kVA | |
4 | Baixa Pressão Casing | 4 | ||
3 | Casing de alta pressão | 3 | ||
2 | Nível de óleo Gauge | 1 | ||
1 | Válvula de alívio de pressão | 1 |
- - - - - - - - - - - - -S9\S11\S13 Transformadores cheios de líquido
